






3 月 31 日美国专利局最新一批外观专利正式生效,整理出其中21 款涉险爆款!
关注到这些产品里面不少是亚马逊,TEMU,Ebay,速卖通,沃尔玛等跨境电商平台热卖品。如有在美国市场刊登售卖,各位跨境卖家需警惕后续可能发生的站内专利权利人投诉甚至钓鱼律所美法院立案起诉-TRO的风险。
1、Bird feeder 喂鸟器

专利编号:Patent US D1121246
申请日期:2024/02/05
下证日期:2026/03/31
专利受让人: Shenzhen Delota Technology Co., Ltd (Shenzhen, CN)
2、Headband for headphones 头戴耳机

专利编号:Patent US D1120906
申请日期:2024/07/23
下证日期:2026/03/31
专利受让人:SONOS, INC. (Goleta, CA US)
3、Incense lamp 香薰灯

专利编号:Patent US D1121215
申请日期:2025/06/12
下证日期:2026/03/31
专利受让人:Zhuang; Jinqing (Fuzhou, CN)
4、Sports ball holder 运动球架

专利编号:Patent US D1121085
申请日期:2023/08/24
下证日期:2026/03/31
专利受让人:Jungo Brands LLC (Dover, DE US)
5、Humidifier 加湿器

专利编号:Patent US D1118508
申请日期:2023/12/20
下证日期:2026/03/31
专利受让人: Li; Li (Yongkang, CN)
6、Ceiling fan 吊扇

专利编号:Patent US D1120633
申请日期:2025/03/26
下证日期:2026/03/31
专利受让人: Dongguan Xinruyu Daily Necessities Co., Ltd. (Guangdong, CN)
7、Pole clip 杆夹

专利编号:Patent US D1120751
申请日期:2025/04/15
下证日期:2026/03/31
专利受让人:Decolin Inc. (Montreal, CA)
8、Right angle lock 直角锁

专利编号:Patent US D1118508
申请日期:2024/01/02
下证日期:2026/03/31
专利受让人: Mai; Jinzhuang (Guangzhou, CN)
9、Feeder 进料器

专利编号:Patent US D1120522
申请日期:2025/09/22
下证日期:2026/03/31
专利受让人: Doskocil Manufacturing Company, Inc. (Arlington, TX US)
10、Fishing tackle holder 渔具架

专利编号:Patent US D1121100
申请日期:2024/02/12
下证日期:2026/03/31
专利受让人: Pro Angler Products (Forest Grove, OR US)
11、Watch band 表带

专利编号:Patent US D1120796
申请日期:2025/02/21
下证日期:2026/03/31
专利受让人:Deng; Pengqun (Guilin, CN)
12、Table lamp 台灯

专利编号:Patent US D1118466
申请日期:2025/01/16
下证日期:2026/03/31
专利受让人:shen zhen shi hao xi shi ye you xian gong si (Shenzhen, CN)
13、Thumb brace 拇指支架

专利编号:Patent US D1121164
申请日期:2025/01/14
下证日期:2026/03/31
专利受让人:Dongguan Feibu Industrial Co., Ltd. (Dongguan, CN)
14、Multifunctional pliers 多功能钳子

专利编号:Patent US D1120717
申请日期:2025/01/11
下证日期:2026/03/31
专利受让人:Volken Gear Limited (Hong Kong, HK)
15、Wireless charger 无线充电器

专利编号:Patent US D1120869
申请日期:2025/01/07
下证日期:2026/03/31
专利受让人:SHEN ZHEN MEGIX TECHNOLOGY CO., LTD (Shenzhen, CN)
16、Cup lid 杯盖

专利编号:Patent US D1120699
申请日期:2025/04/15
下证日期:2026/03/31
专利受让人: EVERICH AND TOMIC HOUSEWARES CO., LTD (Hangzhou, CN)
17、Bottle opener 开瓶器

专利编号:Patent US D1120715
申请日期:2024/12/10
下证日期:2026/03/31
专利受让人:Liao; Ping (Dongguan, CN)
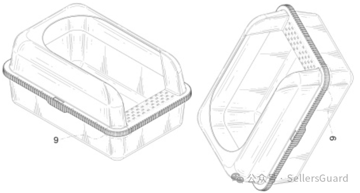
18、Cat litter box 猫砂箱

专利编号:Patent US D1121252
申请日期:2024/08/06
下证日期:2026/03/31
专利受让人:Foshan Jialebao Electronic Commerce Co., LTD (Foshan, CN)
19、Spinning top toy 陀螺玩具

专利编号:Patent US D1121049
申请日期:2024/06/20
下证日期:2026/03/31
专利受让人:TOMY COMPANY, LTD. (Tokyo, JP)
20、Container 容器

专利编号:Patent US D1120754
申请日期:2024/07/29
下证日期:2026/03/31
专利受让人:BROWN LLC (Beaverton, MI US)
21、Electric drill 电钻

专利编号:Patent US D1118466
申请日期:2024/12/28
下证日期:2026/03/31
专利受让人:JIANGSU DONGCHENG TOOLS TECHNOLOGY CO., LTD (Nantong, CN)
以上产品请注意查利文件,如有雷同产品在售,请警惕接下来被投诉甚至被钓鱼律所TRO的潜在风险。
